有源医疗器械加速老化试验效期验证及使用期限验证流程
为了确保医疗器械在生命周期内的安全及有效性,注册人应在设计开发中对其使用期限予以验证。使用期限的验证是医疗器械可靠性研究的重要组成部分,制定并验证合理的使用期限有
来源:医疗器械注册代办 发布日期:2025-08-10 阅读量:次
在医疗器械行业,产品说明书是极具价值的 “官方信息载体”,其内容涵盖产品技术细节、合规性声明、临床应用场景等核心信息。它是确保医疗器械安全使用的重要工具之一。对于医疗器械企业而言,不管是研发阶段进行产品调研对比,还是为自家产品说明书编写作参考,或是注册审批过程中提交同类产品的对比分析信息等,都需要查询竞品或同类医疗器械产品的说明书。
目前我国并无强制公开医疗器械说明书的政策,这使得大多数时候我们获取说明书的过程都非常困难。2024年8月,国家药监局发布了《中华人民共和国医疗器械管理法(草案征求意见稿)》,其中首次提到“医疗器械注册人、备案人应当主动向社会公开经药品监督管理部门批准或者备案的说明书内容”。不过这也只是草案征求意见稿,正式实施不知何时,也不确定最终是否会有调整。

那么,现目前获取竞品或同类医疗器械产品说明书都有哪些途径呢?

国内可以通过国家药监局数据库查询到产品的注册人信息,再通过其他方式联系这家企业获取该产品的说明书。
https://www.nmpa.gov.cn/datasearch/home-index.html#category=ylqx
另外,在医疗器械审评中心的审评报告模块,部分体外诊断试剂产品审评报告末尾会附带说明书。
https://www.cmde.org.cn/xwdt/shpbg/index.html

境外目前有部分国家及地区对于已注册上市的医疗器械产品说明书会进行公示。如美国FDA经 PMA 路径审批的IVD产品就会公开说明书和标签。
美国FDA:https://www.accessdata.fda.gov/scripts/cdrh/cfdocs/cfPMA/pma.cfm
首先根据需求搜索需要查询的产品名称、厂家等信息,在结果页面选择具体产品,然后点击“Original PMA”,下拉并点击“Labeling"就可以下载产品说明书。


日本PMDA数据库:https://www.pmda.go.jp/english/safety/info-services/e-pack-ins/0001.html
这是我们较多使用的一种方式,通过搜索引擎进行关键词检索。我们可以在搜索引擎中输入医疗器械的名称、型号、品牌等加上“说明书”、“IFU”等相关词语进行搜索。搜索结果中可能会包含各个品牌、厂商提供的官方网站、技术支持网站等,这些网站上通常会提供最新的医疗器械说明书供用户下载。
此外,在使用搜索引擎过程中,正确运用一些搜索语法,也能让我们搜索更高效,结果更精准,以下列举部分搜索语法:
1、使用空格组合两个关键词进行搜索。
例如:搜索 维生素D检测 说明书,则返回与维生素D检测以及说明书相关的内容。
2、使用双引号("")完全匹配搜索词,确保结果包含引号内的完整短语。
例如:搜索 "持续葡萄糖监测系统" 说明书,返回结果中短语顺序和内容与引号内完全一致。
3、使用减号(-)排除包含减号后关键词的页面。
例如:搜索 葡萄糖监测系统 -持续 说明书,返回结果包含葡萄糖监测系统说明书且不含“持续”两个字的页面。
4、使用OR(|)搜索返回包含任意一个关键词的结果。
例如:搜索 持续葡萄糖监测系统 | 动态葡萄糖监测系统 说明书,返回结果中持续葡萄糖监测系统说明书和动态葡萄糖监测系统说明书的页面都会展现。
5、使用site:在指定网站进行搜索
例如:搜索 葡萄糖监测系统 site:nmpa.gov.cn,只返回国家药监局官网中的相关页面。
搜索 葡萄糖监测系统 site:gov.cn,返回所有政府官网中的相关页面。
6、使用filetype:搜索特定格式文件(如 PDF、DOC、PPT)
例如:搜索 葡萄糖监测系统 说明书 filetype:pdf,返回 PDF 格式的说明书。
关于搜索语法还有很多,且不同搜索引擎的部分语法略有差异,以上都是一些较为通用的语法,此处列举也仅作思路启发,如果对这部分内容感兴趣的人较多,后面再考虑单独写一篇详细列举介绍。
需要注意的是,搜索引擎本身也不是万能的,没被搜索引擎收录的页面,都是搜索不到的。
部分医疗器械厂家,特别是国外的一些大型企业在其官方网站中都会有一个“产品支持”或“技术文档”等专栏,用户可以直接在该专栏中找到所需的医疗器械说明书。在这些专栏中,通常会提供按照产品分类或型号进行检索的功能,用户只需选择相应的产品分类或输入产品型号,系统即可自动筛选并显示出符合条件的医疗器械说明书。
以下列举部分
强生:https://www.e-ifu.com/welcome
美敦力:https://manuals.medtronic.com/manuals/main/en%20US/home/index
西门子:https://doclib.siemens-healthineers.com/home
贝克曼:https://www.beckmancoulter.com/en/search
伯乐:https://myeinserts-app.qcnet.com/home
雅培:https://globalpointofcare.eifu.abbott/zh/nhcp/home.html
https://www.globalpointofcare.abbott/cn/zh_cn/index.html
如果有相关预算,也可以考虑商业数据库,毕竟是经过专业整理过的,还是要省时省力很多。
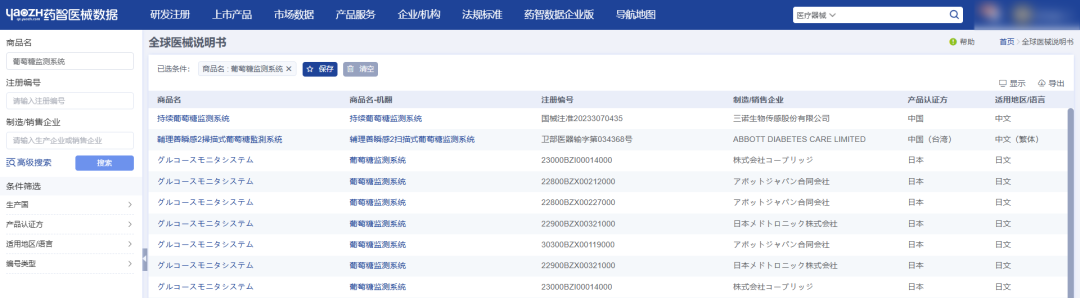
以药智医械数据为例,其全球医械说明书数据库汇聚了包括中国在内的全球数十个国家及地区的医疗器械产品说明书,用户可以根据医疗器械的名称、注册编号、制造商等信息进行检索,然后可以筛选产品生产国家、产品认证方、说明书适用地区/语言等信息,即可得到满足条件的所有产品信息,点击具体产品进入详情页后便可下载PDF版的医疗器械产品说明书。



这个数据库是针对企业会员开放下载,普通用户可以先在他们的专业版(其专业版针对普通用户开放,可查询部分数据)先查询看是否有需要的信息,有的话再联系他们。当然,就算没有,也可以找他们,用他们自己的渠道查询下,这样可以多一个查询渠道,多一份几率找到。
药智医械数据-全球医械说明书数据库https://db.yaozh.com/qxsms
除了医疗器械说明书,例如医疗器械专利、性能指标、标准、临床信息、注册信息等研发注册数据,以及上市产品、市场销售、企业机构信息药智医械数据也都有收录,有需求的可以去体验了解下。
抗体世界:国内外试剂盒说明书免费下载
http://ivdab.com/download/download.aspx
Manuals:包含部分医疗器械产品说明书
https://www.manua.ls/fitness-and-health
ManualsLib:直接搜索产品,也可以按品牌搜索
https://www.manualslib.com/
论坛:对于一些常见的医疗器械说明书,如小木虫、丁香园等一些医疗行业论坛上也会有用户共享的资源。可以通过在这些网站或论坛上搜索或提问的方式,获取其他用户分享的医疗器械说明书。这种方式虽然不如前面几种方式直接和官方渠道获取的说明书可靠,但在一些特定情况下,仍然可以提供一些参考和帮助。
购物网站:如阿里巴巴等一些B2B的网站中会有医疗器械产品,可以找客服索取。
直接购买:根据《医疗器械说明书和标签管理规定》凡在中华人民共和国境内销售、使用的医疗器械,应当按照本规定要求附有说明书和标签。所以,对于一时找不到说明书且价格不太高的产品,可以考虑直接购买产品,都会附带纸质说明书。
医疗机构:医院等医疗机构一直都是医用器械的主要采购和使用单位,所以医疗机构往往也会有很多采购和使用过的医疗器械产品说明书,如果有相关资源,也可以从医疗机构获取。
厂商资源对接:以采购的名义,联系你感兴趣产品的销售(尤其是代理),索取产品说明书。
行业人脉网络:通过前同事/圈内伙伴获取一手资源,建议多添加一些行业群,群内互助发布需求,哪怕有偿提供如果能找到也很不错。
来源:医械工具库

站点声明
本网站所提供的信息仅供参考之用,并不代表本网赞同其观点,也不代表本网对其真实性负责。图片版权归原作者所有,如有侵权请联系我们,我们立刻删除。如有关于作品内容、版权或其它问题请于作品发表后的30日内与本站联系,本网将迅速给您回应并做相关处理。
郑州思途医疗科技有限公司专注于医疗器械产品政策与法规规事务服务,提供产品注册备案申报代理、临床试验、体系建立辅导、分类界定、申请创新办理服务。
为了确保医疗器械在生命周期内的安全及有效性,注册人应在设计开发中对其使用期限予以验证。使用期限的验证是医疗器械可靠性研究的重要组成部分,制定并验证合理的使用期限有
润滑剂类产品在美国根据产品预期用途的不同主要分为人体润滑剂和患者润滑剂:其中,人体润滑剂主要成分为水、丙二醇、羟乙基纤维素、苯甲酸、卡波姆、氢氧化钠等,作用于生殖
中国能排进世界十大医疗器械制造强国吗?暂时还不能,因为排进前十的国家都有许多知名械企和世界级医疗器械巨头;而中国比较出名的可能只有迈瑞了,其他械企仍需努力了。下面
医疗器械注册费是行政性收费,按照注册单元收取,部分省份不收取医疗器械注册费用,绝大部分省份还是收取的。本篇文章统计了截止到2022年1月5日各地医疗器械注册收费标准。
本文介绍了欧盟医疗器械新法规MDR相比于将替代的MDD法规的几点新增要求。建议收藏学习。明年5月份起,Medical Devices Regulation(MDR)(2017/745/ EU)将替代原本的Medical Devices Directive (93
为规范医疗器械(含体外诊断试剂)注册管理,根据国家药监局《关于公布医疗器械注册申报资料要求和批准证明文件格式的公告》(2021年第121号)、《关于公布体外诊断试剂注册申报
生物材料在疾病治疗和医疗保健中发挥了重要的作用,按材料性质,生物材料可分为惰性材料与可降解性材料两种,目前生物材料的发展呈现出由惰性向可降解性(水解和酶降解)转变的趋
可吸收高分子材料介绍,及其在植入医疗器械中的应用。1、植入产品的定义国家食品药品监督管理局《医疗器械分类规则》(局令第15号)第八条中对“植入器械”的定义为:任何借助
2021年2月5日,湖南省药监局分别与湖南省计量检测研究院、湖南新领航检测技术有限公司、湖南普瑞玛药物研究中心有限公司、深圳华通威国际检验有限公司、南德认证检测(中国)有限公
按照中共中央办公厅和国务院办公厅印发的《关于深化审评审批制度改革鼓励药品医疗器械创新的意见》(厅字〔2017〕42号)和《国务院关于修改〈医疗器械监督管理条例〉的决定》(
行业资讯
知识分享
八年
医疗器械服务经验
联系思途,免费获得专属《落地解决方案》及报价
咨询相关问题或咨询报价,可以直接与我们联系
思途CRO——医疗器械注册临床第三方平台
